Как торцовочной пилой пилить углы. Что делает торцовочная пила
- Как торцовочной пилой пилить углы. Что делает торцовочная пила
- Как поднять торцовочную пилу. Устройство торцовочной пилы
- Как пользоваться торцовочной пилой. Настройка торцовочной пилы | Как настроить углы, регулировка глубины пропила
- Как резать напольный плинтус торцовочной пилой. Пошаговая инструкция по монтажу
- Как установить торцовочную пилу. Работа на торцовочных станках и концеравнителях
- Торцовочная пила для плинтуса. Торцовочную пилу, какой фирмы лучше выбрать
- Можно ли торцовочной пилой пилить вдоль. Области применения ручных и стационарных моделей
- Таблица углов для торцовки. Калькулятор углов торцовочной пилы, пересчёт при повороте заготовки.
Как торцовочной пилой пилить углы. Что делает торцовочная пила
Современные модели позволяют выполнять комбинированные распилы различных материалов. Диск может поворачиваться в разные стороны и наклоняться, что обеспечивает распил в заданных направлениях в горизонтальной или вертикальной плоскости. Особенности торцовочных пил для дома , представленных производителями, на которые следует обратить внимание:
- Наклон пильного узла . Он может регулироваться в одну либо в обе стороны. В принципе, оба устройства функциональны в той же степени, потому что и та, и другая пила могут выполнять те же манипуляции по распилу. Однако двусторонние торцовки несколько удобнее для использования.
- Максимальная глубина пропила под углом 45 градусов . В большинстве устройств этот показатель составляет 2,5-12,2 см. Характеристика важна, поскольку под углом торцовочная пила пилит не так глубоко, как при 90 градусах. Если глубина пропила невелика, такое устройство можно использовать при работе с вагонкой и другими материалами с небольшой толщиной. В остальных случаях при выборе инструмента придется сопоставлять его параметры с заготовками, которые понадобится распиливать.
- Глубина пропила под прямым углом . Если устройство предназначено не для промышленности, а для простых пользователей, можно приобрести модель с показателем в 4,5-12,2 см. Чем значительнее глубина прямого реза, тем достойнее уровень электрооборудования.
- Макс. ширина 90-градусного пропила. Это предельные габариты предмета, который сможет обработать торцовка. Современные устройства способны распиливать бруски шириной от 8,5 до 43 см исходя из своего назначения.
Как поднять торцовочную пилу. Устройство торцовочной пилы
Устройство рассматриваемого нами инструмента ввиду его предназначения в большинстве моделей от разных производителей практически одинаково. Имеются лишь небольшие нюансы, например по защитным кожухам диска. Но мы будем рассматривать устройство инструмента на примере пилы JET JMS-10L. Именно такой прибор долгое время эксплуатировался нашими мастерами и никогда не вызывал нареканий в работе.
Эта пила не относится к профессиональному инструменту и не подходит для слишком частого и долгого применения, однако для собственных нужд и небольшого бытового ремонта подходит как нельзя лучше. Итак, устройство торцовочной пилы JET JMS-10L выглядит следующим образом:
На станине с поворотным столом установлена режущая головка пилы. Режущая головка состоит из мотора коллекторного типа входной мощности 1500 Вт и питанием до 230 В. Число оборотов пильного диска в данном случае составляет 4500 об/мин. То есть, как видите совсем немало. Головка имеет возможность наклоняться по необходимости влево или вправо. Стол пилы имеет возможность поворачиваться по отношению к направляющей до 90 градусов, по 45 градусов в каждую сторону. Что очень удобно при подрезке заготовок – нет необходимости переустанавливать деталь и прерывать процесс обработки. Подробнее о характеристиках мы напишем ниже.
Сбоку поворотного стола имеется градуированная шкала для удобства работы. Также в этой модели имеется протяжной механизм. В стандартную комплектацию входит система зажимных приспособлений, подвижные вставки для больших заготовок, мешок пылесборник, мерная шкала, световой указатель и пильный твердосплавный диск с 40 зубцами.
Как пользоваться торцовочной пилой. Настройка торцовочной пилы | Как настроить углы, регулировка глубины пропила
Работа торцовочной пилой — это не слишком сложный процесс. Но перед тем как начать обработку заготовок, необходимо убедиться в том, чтобы была правильно произведена регулировка торцовочной пилы. Если не произвести верную настройку инструмента, это чревато тем, что качество распила будет далеко от ожидаемого. Поэтому не стоит пренебрегать этим процессом.
Настройка торцовочной пилы
Регулировка торцевой пилы предполагает полную настройку инструмента для каждого конкретного вида работ. Ведь при работе с теми или иными заготовками необходимы свои настройки, которые зависят как от толщины заготовок, так и от необходимого угла наклона и вида материалов.
Настройка углов
Каждая работа требует выставления нужного угла распила. Обычно изготовители инструментов с завода выставляют на торцовке нулевой угол. Поэтому если Вам необходим прямой угол или 45 градусов, это потребует дополнительной настройки инструмента.
Для того чтобы выставить на торцовочной пиле нужный угол, необходимо сделать следующее:
- Произвести закрепление пилы на поверхности с помощью регулировки струбцин. Это необходимо для того, чтобы инструмент плотно был закреплен на поверхности, и в процессе его работы не возникало люфтов, который могут негативно сказаться на результате распила и получении ровных углов. Рекомендуем статью по правильной установке торцовочной пилы .;
- С помощью упоров торцевой пилы выставить нужный угол распила. Выставление нужного угла производится путем регулировки упоров инструмента и использованием транспортира, который находится на инструменте;
- Прямой угол выставить достаточно просто, необходимо просто придвинуть пильный диск перпендикулярно поверхности, регулируя сначала один упор. После этого второй упор выставляется в соответствии с первым;
- Настроить угол в 45 градусов несколько сложнее. Если Вы не уверены, что сделали все правильно, то правильность регулировки легко проверить. Для этого нужно взять ненужную заготовку и произвести распил четырех одинаковых деталей. После этого их нужно сложить в рамку. Если стыки деталей получились ровными и не имеют зазоров, то Вы произвели верную настройку угла наклона, и можно спокойно начинать работу.
Глубина пропила
Следующим этапом настройки является регулировка глубины пропила. Она зависит от толщины заготовок, с которыми Вы собираетесь работать. Чем толще используемый материал, тем больше должна быть глубина распила. Кроме этого стоит учитывать выбранный угол наклона. Для распила под углом необходимо увеличение глубины пропила, чтобы в процессе работы она оказалась достаточной. Кстати, глубина пропила, один из основных параметров при выборе торцевых пил .
Часто глубину пропила не настраивают, а просто выбирают пильный диск подходящего размера, который обеспечивает нужную глубину. Посмотрите статью о том, как выбрать диск на торцовочную пилу . Но для пиления под углом может понадобиться отрегулировать инструмент в сторону его увеличения, особенно если используются толстые заготовки.
Ручная регулировка глубины пропила производится путем поднятия столика торцовки над рабочим столом и регулировки ее креплений на необходимый уровень высоты. При этом нужно сначала ослабить винты на креплении, а затем снова закрепить их.
Регулировка пильного диска
В обычной торцовочной пиле пильный диск должен располагаться ровно под прямым углом относительно столика инструмента. Для этого можно воспользоваться угольником, чтобы увидеть, нет ли отклонений в положении пильного диска. При необходимости его нужно отрегулировать, чтобы результат работ был ровным и точным.
В тех инструментах, которые имеют протяжку и функцию горизонтального перемещения диска, можно отрегулировать и сам пильный диск. Это необходимо для того, чтобы использовать инструмент для продольного пиления различных материалов.
Для того чтобы установить пильный диск в горизонтальное положение, необходимо убедиться в том, что инструмент отключен от сети и аккуратно разблокировать держатели диска, после чего повернуть пильный диск в нужное положение и снова закрепить его на инструменте. Обязательно убедитесь в том, что он надежно закреплен, чтобы в процессе работы не повредить его в процессе работы.
Калибровка торцовочной пилы
Чаще всего, торцовочная пила имеет хорошую калибровку с завода. Но бывает, что углы выставлены не совсем точно. Часто бывает, что популярные углы в 90 и 45 градусов выставлены достаточно точно, а вот при резе под углом в 30 или 15 градусов могут возникать проблемы. Ранее мы уже писали, как выставлять углы на торцовке .
В таком случае следует попытаться произвести ручную калибровку путем поворота или наклона инструмента и подкручиванием пластикового указателя на транспортире, пока не получите точный результат распила.
Как резать напольный плинтус торцовочной пилой. Пошаговая инструкция по монтажу
Даже если у человека нет большого строительного опыта, ему по силам справиться с несложной технологией установки. Потолочный и напольный плинтус монтируется одинаково.
Основные этапы монтажа полиуретанового плинтуса:
- Подготовка рабочих поверхностей. На момент отделки стены, пол и потолок должны быть выровнены, очищены и просушены.
- Подбор декоративного элемента. Это выбор модели и расчет количества. Чтобы закупить нужное число двухметровых заготовок, надо разделить на два периметр помещения и прибавить к полученному результату запас. На оформления каждого угла уйдет примерно по 10 см от длины планки.
- Адаптация. Желательно дать полежать отделке в помещении в течение 1-2 суток. За пару дней она восстановит форму и адаптируется к температурному режиму.
- Примерка и разметка. Заготовки надо плотно прижать к месту будущей фиксации, в углу на стене и полу провести черту, которая пересечет плинтус, и сделать на нем соответствующую пометку для распила. Затем следует также поступить со второй планкой и сформировать место стыка.
- Резка. Правильно будет сначала раскроить углы, и только потом укорачивать заготовки. Если поступать иначе, в итоге они окажутся короче, чем нужно.
Чем резать полиуретановый плинтус – канцелярским ножом, торцовочной пилой или мелкозубчатой ножовкой. Столярное сусло со стандартными трафаретами поможет сделать срезы под необходимым углом.
При желании можно приобрести внешние и внутренние уголки, тогда их не придется выводить самостоятельно.
Напоследок надо зашкурить кромки срезов, проверить стыковку заготовок и убедиться, что они плотно прилегают друг к другу.
Как установить торцовочную пилу. Работа на торцовочных станках и концеравнителях
На станках для поперечного раскроя нельзя получить правильную и чистую оторцовку благодаря применения выпивал большого диаметра с громадным разводом и громадным шагом зуба. При поперечном раскрое досок постоянно дают припуск по длине для правильного отор-цовывания подробностей по окончании строгания.
Чистое опиливание торцов совершенно верно под прямым углом к боковым строганым сторонам и по заданной длине подробностей делают на торцовочных станках.
Торцовочные станки подразделяются на однопильные с ручной подачей при помощи каретки, двухпильные и многопильные с ручной либо механической подачей. Двухпильные и многопильные торцовочные станки именуются концеравнителями.

Рис. 1. Торцовочный станок:
а — с кареткой на поворачиваемом кронштейне (неспециализированный вид); б — каретка, расположенная на столе станка (схема); 1 — кронштейн; 2 — каретка; 3 — торцуемая подробность; 4 — направляющая линейка; 5 — стол станка; 6 — пазы в столе станка
Однопильный торцовочный станок имеет такое же устройство, как станок для продольного раскроя досок, но материал подается на пилу при помощи каретки. Каретка является платформой на особой подставке либо на кронштейне, передвигаемую на роликах по направляющим.
Каретку для оторцовывания маленьких подробностей довольно часто располагают на столе станка и перемещают ее по столу при помощи шипов, скользящих в пазах стола.
На каретке имеется неподвижная направляющая линейка, расположенная перпендикулярно к пильному диску, и мобильный упор — откидной либо съемный, расположенный параллельно диску. Упор помогает для ограничения длины оторцовки.
Помимо этого, каретка снабжена приспособлением для зажима подробностей. Используются зажимы рычажные, эксцентриковые, винтовые, а в станках последнего выпуска — пневматические.
На однопильном торцовочном станке трудятся пилами диаметром от 200 до 400 мм. Число оборотов пилы от 2 до 4 тыс. в 60 секунд, скорость резания до 60 м/сек, мощность двигателя 1,5 — 3,2 кет.
Подробности для оторцовывания подают по нескольку штук, в зависимости от их толщины и ширины. Ширина закладки возможно до 350 мм. Узкие подробности в большинстве случаев подают пачками в пара последовательностей по высоте и ширине.
В целях экономии рабочего времени частенько торцуемые подробности прижимают к линейке и каретке рукой. В этом случае величина закладки зависит от рабочих навыков станочника.
Оторцовывание возможно вести в различной последовательности. Возможно, к примеру, торцевать всю партию подробностей с одного финиша без упора, позже всю партию с другого конца по упору.
Существует и второй метод: подробности в закладке торцуют сперва с одного финиша без упора, после этого тут же накидывают упор, перевертывают закладку и создают оторцовывание другого финиша по упору. . Второй метод более производительный, поскольку на перевертывание пачек и закидывание упора подробностей, обрабатываемых последовательно, расходуется меньше времени, чем на двухкратную укладку подробностей в приём и штабель подробностей из штабеля для оторцовывания с другого конца.
При оторцовывания подробностей кратной длины используют откидные упорные линейки, параллельные главному упору. Оторцевав подробности с обоих финишей, передвигают всю закладку в сторону пилы и создают расторцовку на заданные длины, сперва упирая закладку в первую дополнительную откидную линейку, позже во вторую и т. д., до тех пор пока подробности не будут всецело растор-цованы.
На торцовочных станках с ручной подачей возможно создавать опиливание по периметру рамок и щитов, раскрой страниц клееной фанеры, поперечный раскрой пачек строганой фанеры. Работа получается более чистой и правильной, чем при опиливании и раскрое на вторых круглопильных станках.
Концеравнители. Так именуются двухпильные торцовочные станки, торцующие подробности соответственно заданной длине в один момент с обоих финишей.
В концеравнителе одна выпивала насажена на вал наглухо, вторую пилу возможно передвигать по валу и так изменять расстояние между пилами в зависимости от длины подробностей. Каретка проходит между пилами.
Рис. 2. Откидные упоры на каретке торцовочного станка и пользование ими
Производительность двухпильных концеравнителей с ручной подачей материала, как и однопильных торцовок, низкая. Большое количество времени отнимают закладка подробностей, снятие их со станка и укладка в штабель, время теряется и на холостой движение каретки.
Торцовочная пила для плинтуса. Торцовочную пилу, какой фирмы лучше выбрать
В рейтинг включены товары 7 популярных производителей с хорошими характеристиками, многочисленными отзывами экспертов и покупателей. Среди этих компаний имеются немецкие, российские и некоторые другие фирмы. Вот кто входит в список лидеров:
- Hammer – бренд электроинструментов для профессионалов, отличающихся компактными размерами, высокой скоростью оборотов (около 5000 вращений в минуту), низким уровнем шума и надежной защитой от перегрева. Устройства без проблем выдерживают сильные нагрузки и успешно применяются для разных типов распила. Они эффективны в работе не только с деревянными, но и с тонкими алюминиевыми поверхностями.
- Зубр – бюджетный производитель электроинструментов , среди которых есть и пилы. Они применяются как для простого, так и сложного раскроя полотен под разными углами наклона диска. Большая глубина входа рабочих элементов и приличный их диаметр гарантируют ускорение процесса. Изделия имеют мощный двигатель, справляющийся даже с высокими нагрузками.
- Калибр – устройства бренда подходят для обработки заготовок не только из дерева, но и пластиковых, а также алюминиевых материалов. Они справляются с самой разной толщиной за счет большого режущего диска, и количество отходов остается на приемлемом уровне. Продукцию фирмы отличает компактный стол, надежные упоры и зажимы, что гарантирует более безопасное и эффективное использование торцовочных пил по дереву и другим материалам.
- Metabo – производитель профессионального электрического оборудования, которое отличается высоким качеством сборки, хорошей мощностью двигателей, острыми дисками. Изделия фирмы функциональны и надежно защищены от преждевременного выхода из строя. Диаметр режущих элементов колеблется от 216 до 315 мм, в зависимости от конкретной модели.
- Makita – ассортимент компании изобилует торцовочными пилами, средняя мощность которых составляет 1600 Вт. Инструменты имеют диски диаметром около 20 см, вращающиеся со скоростью в 3000-6000 оборотов за минуту. Многие из них оснащаются удобным столом и протяжным механизмом, улучшающим качество работы.
- Bosch – немецкий производитель в основном премиальной продукции. Его пилы имеют компактные размеры и адекватный вес, оснащаются удобной рукояткой и прочными упорами. Конструкции компании отличаются качественной сборкой и производятся из долговечных материалов. Они имеют легкие в замене режущие элементы и интуитивно понятное управление.
- DeWALT – пилы бренда ценятся за хорошее качество и высокий уровень безопасности для пользователя. Они оставляют рабочую поверхность чистой, будучи оснащены пылесборником. Большую часть ассортимента представляют сетевые модели, питающиеся от розетки. Средняя мощность изделия – 1300 Вт, глубина реза – около 3 см, правда, весят инструменты порядка 15 кг.
Можно ли торцовочной пилой пилить вдоль. Области применения ручных и стационарных моделей
Торцовочная пила – это электрический ручной инструмент, предназначенный для распиловки и обработки различных материалов (дерево, металл и пластик). В зависимости от назначения подобное оборудование классифицируется следующим образом: торцовочная и торцово-усовочная, маятниковая и циркулярная пила (электрическое стусло).
Ручная дисковая пила отличается от торцовочной пилы лишь тем, что у неё отсутствует станина с поворотным столом, что делает её более мобильной, и это особенно важно при бытовом использовании.

Торцовочные пилы по дереву используются для распиловки деревянных заготовок, а также изделий, изготовленных из продуктов деревообработки (ламинат, ДСП, МДФ и прочие плитные материалы). Распиливание выполняется под прямым или иным заданным углом или наклоном, что необходимо при изготовлении столярных изделий и предметов мебели. Кроме этого, подобное оборудование используется при выполнении строительно-монтажных и отделочных работ.

Использование ручной дисковой пилы при обработке деревянного баланса
Ручные модели используются на строительных площадках и в домашних условиях, а стационарно устанавливаемые − в условиях мастерских или цехов различных видов производств. Маятниковые пилы используются при работе с металлом, что необходимо при изготовлении металлоконструкций в различных сферах производства. Подобное оборудование устанавливается стационарно, а для работы используются специальные пильные диски.
Таблица углов для торцовки. Калькулятор углов торцовочной пилы, пересчёт при повороте заготовки.
Введите углы в положении до поворота заготовки и нажмите кнопку «Рассчитать».
a1 — угол вращения поворотного основания при ориентации заготовки в первом положении (поворот в горизонтальной плоскости);
b1 — угол наклона пилы при ориентации заготовки в первом положении;
a2 — угол вращения поворотного основания, для повернутой заготовки (поворот в горизонтальной плоскости);
b2 — угол наклона пилы, для повернутой заготовки.
Значения всех углов в градусах. Десятичный разделитель — точка.
Инструкция к калькулятору расчета углов торцовочной пилы
Необходимость пересчёта углов возникает, когда плоскость спила заготовки определяется поворотом двух углов одновременно. Например, такая необходимость может возникать при распиливании балок купольной конструкции. Страница для онлайн расчёта купольных конструкций —.
Калькулятор углов позволяет произвести нужные расчеты для настройки поворота торцовочной пилы в зависимости от ориентации на ней бруска.

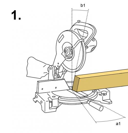
Известные исходные значения углов для положения доски представленной на рисунке «1». В качестве заготовки для распила представлена доска.

Углы, которые рассчитывает данный онлайн калькулятор для той же заготовки.
На первом рисунке показано положение бруска с известными углами. Эти углы обозначены как a1 и b1.
На втором рисунке показано следующее:
- направления поворота основания и диска пилы, на углы, которые позволяет рассчитать калькулятор;
- направление поворота доски при переходе в положение «2» — стрелочкой.
Новые углы обозначены как a2 и b2.
Обратите внимание, на смену направления угла b2 на противоположное по сравнению с исходным. Эта смена учтена в калькуляторе, и значение результирующего угла указывается положительным.
Калькулятор углов позволяет пересчитывать отрицательные углы.
Используются следующие формулы:
a2=arcsin(sin(b1)/cos(a1));
b2=arctg(tg(a1)*cos(b2)).
Применение калькулятора при строительстве купола
Применительно к случаюобозначения углов можно читать следующим образом:
a1 — угол вращения поворотного основания при установке ребра на узкую сторону (поворот в горизонтальной плоскости);
b1 — угол наклона пилы при установке ребра на узкую сторону;
a2 — угол вращения поворотного основания, если положить ребро широкой стороной (поворот в горизонтальной плоскости);
b2 — угол наклона пилы, если положить ребро широкой стороной.
В этом случае первое положение доски соответствует тому положения ребра, которое получено при проектировании купола по приведенной ссылке.
Благодарность
За идею создания калькулятора по пересчёту углов торцовочной пилы выражаем благодарность Сергею. Эту идею Сергей высказал в комментариях к инструкции для калькулятора купольных конструкций .